Hi, I am Avishek.

Associate Electronics & Communication Engineer

Experience in Communication system for Aviation.

Contact Me

About Me

Introduction
Erol Bicer Nuclear Power Plants Summit Session

07+ Years'
Experience
11+ Projects
Completed
08 Papers
Published

Skills

Technical Competence

System Codes

RELAP5

Advanced

GOTHIC

Advanced

MARS-KS

Advanced

SPACE

Advanced

CAP

Advanced

CFD Codes

OpenFOAM

Proficient

CUPID

Beginner

Programming Codes

MATLAB

Proficient

FORTRAN

Intermediate

C++

Beginner

HTML/CSS

Intermediate

Miscellaneous

DOS/UNIX

Beginner

CATIA

Intermediate

Origin

Advanced

ParaView

Proficient

Mathcad

Proficient

Git/GitHub

Intermediate

MS Office

Advanced

Qualifications

Academic and Professional Career
Education
Work
B.E

Electronics and Communication

Purbanchal University
2017 - 2021
Diploma

Electronics and Communication

Manmohan Memorial Polytechnic
2014 - 2017

Associate Electronics & Communication Engineer

Aviation Department
2022 - Present

Projects

Involved Projects

SMR & MMR

View More

Small and Micro Modular Reactors Technology Analyses

  • Literature and Technology Review

  • Technical Feasibility Analysis

  • Commercial Feasibility Analysis

SMART

View More

System-Integrated Modular Advanced Reactor Passive Containment Cooling System

  • Modeling of SMART CPRSS through GOTHIC

  • Literature Survey for the Design and Arrangement of Sparger Layout for SMART CPRSS

  • Direct contact condensation

  • Chugging

  • Modeling of SISTA through MARS-KS

  • CAP Verification

  • Simulations of condensation and boiling conceptual problems through MARS

  • Simulations of a conceptual problem through MARS and SPACE

  • CAP Input Preparation for sub P/T Analysis

  • CPRSS Hydraulics and Heat structure Calculation Sheet Preparation for CAP

PGSFR

View More

Prototype Gen-IV Sodium-Cooled Fast Reactor Condition Analysis Project

  • Simulations of Design Basis Events through MARS-LMR

  • Leakage of Intermediate Heat Transport System Pipe

  • Reactor Vessel Leak into the Containment Vessel

SMART DEC

View More

Feasibility Study of the SPACE Code Application on DEC Accident Analysis of SMART

  • SPACE Code Calculation Sheet Preparation

  • Passive Safety Injection System (PSIS)

  • Passive Residual Heat Removal System (PRHRS)

PCCS

View More

Conceptual Design and Development of Passive Containment Cooling System for APR1400

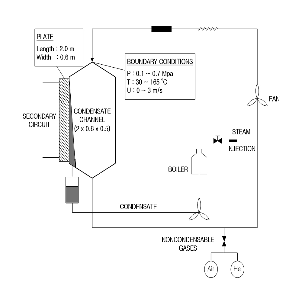
  • Literature Survey on Condensation with Non-condensable Gases

  • Separate and integral test facilities to validate the MARS condensation model

  • Available condensation models (e.g. Colburn-Hougen, Peterson's Model)

  • Review of MARS condensation model

  • COPAIN Test Facility (on-plane condensation) Simulations through MARS-KS

  • Dehbi, Kawakubo, Su, Lee Experiments (on-tube condensation) Simulations through MARS-KS

  • MARS trouble report to KINS: Volume average velocity deficiency

  • Multi-Compartment and Multi-Dimension Simulations (conceptual) through GOTHIC

ATLAS

View More

Determination of ATLAS Heat Loss and Improvement of MARS Input Model

  • ATLAS Experimental Facility Heat Loss Quantification of RCS side

  • Integral and Differential Approaches

  • Implementation of Heat Loss Modeling to MARS Input

  • Simulations of OECD and DSP Problems with the new MARS Input

NON-LOCA

View More

SPACE Code Input Deck Preparation and Validation

  • HANUL 1&2 Hydraulics and Heat Structure Calculation Sheet Preparation for SPACE

  • Reactor pressure vessel

  • Steam generators

  • Steam generators

  • Secondary Systems

  • HANUL 5&6 Hydraulics and Heat Structure Calculation Sheet Preparation for SPACE

  • Steam generators

  • Steam lines

  • Safety systems

  • SPACE Code Validation

  • DSP01 - ATLAS DVI line break SBLOCA simulation

  • DSP02 - ATLAS CL SBLOCA

  • Marviken sensitivity tests

PAFS

View More

Passive Auxiliary Feedwater System Development

  • Calculation of Pipe Flow Resistance Coefficients

  • RELAP5 Input Deck Preparation for HANUL5&6

  • Full steady-state input model

  • Code-to-code verification with SPACE

ACHX

View More

Air Cooling Heat Exchanger Experiment Simulations through MARS-KS

  • Fin Efficiency

  • Fouling

  • Heat Transfer Coefficient

  • Loss Coefficient

IoT

View More

Review of Regulatory Criteria for using IoT Technologies in Radioactive Waste Management

  • Review of RFID (Radio Frequency Identification System) and IoT technologies

  • Review of IoT applications in radioactive waste management

  • Review of global IoT standards and best practices

EUR

View More

APR1000 PAFS Standard Design Development and EUR Certification Support

  • Literature Review

  • Technical Support

Papers

Published Papers
Water velocity vector plot

#turbulence

Influence of Inlet Turbulent Boundary Conditions on Bubble Diameter Calculation

Read
CFD code OpenFOAM mesh for pool scrubbing geometry

#poolscrubbing

CFD Simulation of High Inlet Velocity Air Flow into a Large Tank at Pool Scrubbing Conditions

Read
Small modular reactor containment pressure and radioactivity

#PTanalysis

CAP Code Version-up to 3.0 and Its Application to Pressure and Temperature Analysis

Read
Integral experiment test facility

#heatloss

System Code Analysis of ATLAS Facility Including Heat Loss Evaluation

Read
Wall condensation experiment

#wallcondensation

Capability of MARS-KS on Predicting Wall Condensation in the Presence of Non-Condensable Gases

Read
MARS-KS, GOTHIC, CUPID, and CFX codes comparison on COPAIN test facility

#codetocodecomparison

Prediction of Wall Condensation in the Presence of Non-Condensable Gases through Various Thermal-Hydraulic Codes

Read
Small break loca accident facility

#scalinganlaysis

Scaling Analysis for DVI Line Break Accident of APR1400 based on ATLAS Experiment

Read
Water velocity vector plot

#bubblediameter

Bubble Diameter Evaluation in Pool Scrubbing Geometries

Read
Water velocity vector plot

#turbulence

Influence of Inlet Turbulent Boundary Conditions on Bubble Diameter Calculation

Read
CFD code OpenFOAM mesh for pool scrubbing geometry

#poolscrubbing

CFD Simulation of High Inlet Velocity Air Flow into a Large Tank at Pool Scrubbing Conditions

Read

Do you have any questions?

Schedule a meeting and lets discuss!

Send a Request
Erol Bicer

References

Testimonials

Mr. David S. Kessel

KINGS, Research Professor

I have known Erol since 2014 when he was in my systems engineering class at KINGS and I can say without reservation that he is bright, hard working, and of the highest integrity.

Dr. Aya Diab

KINGS, Associate Professor

I met Erol in 2016, and ever since he always impressed me with his zeal to expand his knowledge, hone his skills and take on new challenges to enhance his career.

Mr. David S. Kessel

KINGS, Research Professor

I have known Erol since 2014 when he was in my systems engineering class at KINGS and I can say without reservation that he is bright, hard working, and of the highest integrity.

Dr. Aya Diab

KINGS, Associate Professor

I met Erol in 2016, and ever since he always impressed me with his zeal to expand his knowledge, hone his skills and take on new challenges to enhance his career.

Mr. David S. Kessel

KINGS, Research Professor

I have known Erol since 2014 when he was in my systems engineering class at KINGS and I can say without reservation that he is bright, hard working, and of the highest integrity.

Dr. Aya Diab

KINGS, Associate Professor

I met Erol in 2016, and ever since he always impressed me with his zeal to expand his knowledge, hone his skills and take on new challenges to enhance his career.

Videos

Appearances
Global SMR & MMR Development Activities
KNS Workshop on SMR & MMR
What is the age of Sunlight?
Half Life & Radioactive Decay
Nuclear Engineering Conversations

Presentations

Talks and Meetings
FNC Technology Company Introduction
SMR & MMR Development Status in the World
Non-electric Applications of Nuclear Energy

Contact Me

Get in Touch

Call Me

+82-10-7497-0705

Location

South Korea
Send Message